
Winparts.nl
Fiat Regeleenheid, gloeitijd 4RV008188111
Fiat Regeleenheid, gloeitijd 4RV008188111
Verzendkosten € 6,99
- Thuiswinkel Waarborg
102,47
Gevonden bij 1 winkel vanaf
€ 102,47
(minder betalen?)
Voorgloeitijd bij +20 °C / < 7 sec
Aanvullend artikel/aanvullende informatie: Zonder externe temperatuurregistratie
Nominale stroom [V]: 12
Gloeibougie uitvoering: Voor nagloeien geschikt
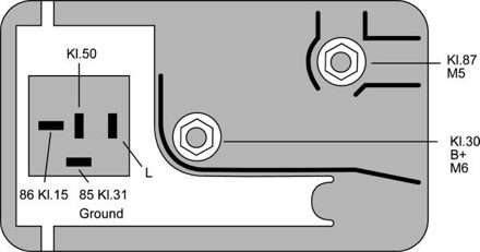
Aantal polen: 6
Voorgloeitijd [sec.]: 7
o.a. geschikt voor FIAT RITMO (138_).